【e公司调查】定价看心情?一张图片有人卖119元,有人卖5万!警惕数字藏品交易风险
来源:证券时报·e公司 作者:吴志 2022-06-10 12:26
Aa 大号字

“数字藏品的价格,到底是炒作带来的,还是其知识产权本身的价值,市场会判断的。炒作带来的一定是泡沫和崩溃,而市场定价,涨跌是有依据的。”在接受证券时报·e公司记者采访时,广东省青联委员、中宜教育及格兰堂科技CEO戴斌表示。

数字藏品被认为是元宇宙时代最先落地的应用,被多方看好。2021年,国内数字藏品平台开始兴起,今年以来,国内数字藏品平台更是大幅增长。

伴随着平台数量增加,数字藏品价格暴涨暴跌、平台缺乏监管、二级市场交易合规性不足等问题也逐步暴露出来。

平台数量大增,乱象多

今年上半年,国内数字藏品平台开始快速增长。据业内人士今年5月统计的数据,国内大大小小的数字藏品平台已超过400家,而今年年初,这一数字还仅有约100家。

安盾网IP品牌事业部总监梁龙对记者表示,当前数字藏品平台主要有三类,一类是以广告营销企业为主的平台,第二类是政府机构或者有国企背景的大型企业,第三类则是由民营企业搭建的平台。

(蚂蚁集团旗下数字藏品平台鲸探)

“目前,数字藏品产业链已初步完善,从创作、铸造到发行流转实现全链条覆盖,既有互联网巨头积极布局,也有新兴科技企业奋力抢占先机。”欧科云链研究院高级研究员蒋照生表示。

“从企业端看,参与数字藏品布局的原因也各不相同:要么是看好数字藏品赛道,提前布局;有的是为了创新IP合作的商业模式,比如李宁;也有希望结合数字藏品进行品牌营销,提升品牌影响力的。”蒋照生说。

数字藏品平台的搭建并没有太高的门槛。随着平台数量快速增加,行业鱼龙混杂,今年以来,数字藏品平台倒闭跑路、炒作藏品、虚假宣传等现象屡见不鲜。

今年以来,多个数字藏品平台产品交易价格出现暴涨暴跌现象。5月份,一些平台的数字藏品价格出现大幅下跌,部分藏品短期内跌幅超过50%。

同在5月,数字藏品平台“TT数藏”官方微信发布公告称,由于市场波动大,公司老板经不住诱惑,将平台启动资金挪用进行投资,导致持仓缩水,平台无法继续运营,宣告倒闭。

近期,又有多家数字藏品平台陷入破产倒闭、跑路传闻。虽然此后平台发布公告进行辟谣,但这也充分暴露了当前数字藏品平台的混乱现状。

“目前,真正有价值的NFT(数字藏品)产品还没有出现,因为有价值的知识产权,往往掌握在比较谨慎的主体手中,这部分主体目前还在观望中。”戴斌表示,目前NFT市场尚处于“试水”阶段、鱼龙混杂,在未来的合规划的过程中,相当一部分平台会被市场自然淘汰。

价格炒作普遍,定价太随机

数字藏品有着“藏品”的名号,原本其最大的意义在于个人收藏和自我观赏。但目前,许多平台开放的交易功能,让一些数字藏品成为了流通产品,价格也不断被爆炒。

以iBox数字藏品平台为例,平台虽然称其发售的数字藏品仅具备收藏、欣赏价值,官方对藏品价格不构成任何指导意义,并提示用户谨慎购买,严防炒作。但由于平台具备交易功能,一些藏品在短时间内被反复转售,价格也忽上忽下。

该平台上一款名为“蔷薇处处开”的数字藏品的交易记录,生动地展现了数字藏品在定价、交易方面的混乱景象。

页面资料显示,该藏品是一张数字唱片,4月16日发售,共发行6684份,目前流通的有4863份。

交易记录显示,4月16日,买家1首先以99元的价格买入藏品,4月19日以1040元的价格卖出。在接下来的几天里,买家2先后多次涨价,最终于4月27日以1560元的价格卖出该藏品。

5月1日,买家3卖出时,将价格提高到了2600元。

(该藏品被频繁交易)

此后又经过多轮交易,5月10日,买家6以6850元的价格买入,并于两天后以7395元的价格卖出。仅仅过去一天后,买家8又以9000元的价格买入,并以9780元的价格卖出。

在不到一个月的时间里,该数字藏品先后被倒手8次,价格从99元飙升至近万元。

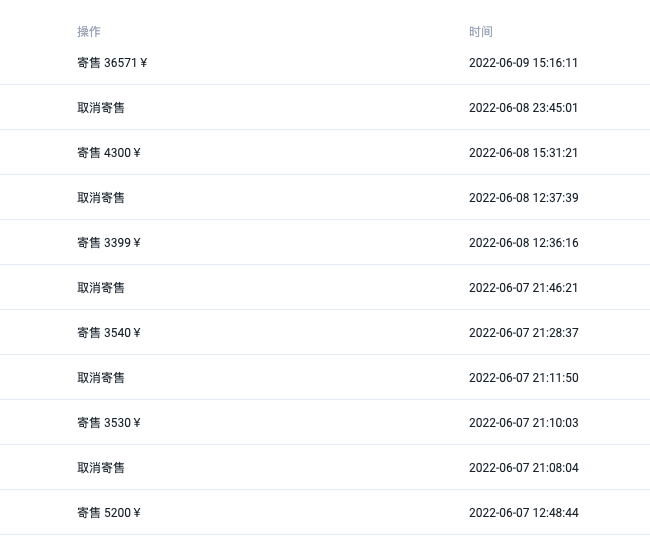
然而,涨得快跌得更快。5月份,平台上的藏品价格开始不断下跌。5月22日,买家8在多次降价后,最终以3197元的价格将该藏品卖出,一买一卖亏损超过6000元。

该次交易后至今,买家9虽然数次拟销售该藏品,最低标价3399元,最高标价甚至达到了36571元,但始终未能售出。

(同一张图片,定价差异巨大)

在另一家名为“元交所”的数字藏品平台上,一款熊猫形象的大头贴数字藏品,发售量达到5000份,不少用户正在转售该产品。一张一模一样的图片,最低有人标价119元,最高则标到了5万元。

频繁的交易,离谱的定价,是国内一些数字藏品平台上的普遍现象。业内人士告诉记者,目前平台的交易价格基本没有参考,都是由卖家自己定的,但定价了具体有没有人买就要看具体情况了。

“数字藏品并不是比特币,而是人为发行的,想发1000个就有1000个,想发1万个就可以有1万个,不是孤品,没有限制。”梁龙认为,当前许多数字藏品的价格,有人为操纵的因素。

“价格暴涨暴跌,根源在于国内的数字藏品与其所属的IP处于分离状态。数字藏品最有价值的是它的附加价值,就像货币一样,真正有价值的是它的购买力,而不是这张纸币到底是红色的还是黑色的。”梁龙表示。

“国外一些数字藏品,消费者购买后,可以拥有IP的很多商业化权益。IP本身的价值越高,数字藏品的价值也就越高。但国内的IP一般不会开放那么多权利,消费者购买到的数字藏品,可能仅仅是一张图片,而不是IP的其他权利。”梁龙认为,在这种情况下,数字藏品的价格缺乏参考,随意定价的可能性大大增加。

大学生参与炒作需警惕

缺乏有效监管的交易、波动极大的价格,都显示数字藏品交易蕴藏着巨大的风险。多位业内人士在接受采访时建议,对数字藏品缺乏了解的用户,最好不要参与资质不明平台的产品交易。

但实际情况却恰恰相反。由于元宇宙、数字藏品等概念较为新潮,颇受年轻人,尤其是“00后”等群体热捧。

记者了解到,目前许多数字藏品平台的主力用户,正是缺乏辨别能力的学生和中老年人。

“数字藏品平台最主流的用户是三类,除了真正的NFT爱好者,还有学生、中老年人。很多学生和中老年人被不良机构蛊惑,把数字藏品当成股票一样炒作,或者当成比特币,认为一定会涨。”梁龙说。

在各大消费者权益保护平台上,投诉在数字藏品交易中遭遇资产损失的学生群体不少。其中不少学生是抱着交易数字藏品“赚点钱”的念头进入,但他们不仅没能赚到钱,反而遭遇大额损失。

记者了解到,此前,许多数字藏品平台对于用户参与交易并无年龄限制,或限制较为宽松。近期才逐步加强了对年龄的限制。

如iBox平台今年6月4日发布公告,将限制不满21周岁及60周岁以上的新用户注册,对已注册不满21周岁、60周岁以上的留存用户将逐步分批限制购买功能。

还有部分平台希望尽量保障合规,但又无法“割舍”大量年轻用户,将参与交易的限制年龄设置为满18岁,其实际作用非常有限。

二级市场交易合规性存疑

目前,数字藏品的许多问题均滋生自交易环节。但火热的数字藏品二级市场交易,实际上仍处灰色地带。

“数字藏品的发行属于消费环节,只要明确告知用户,就没有太大问题。但二级交易是金融环节,目前还没有明确的规定,合规性是不够的。”戴斌表示。

“全球的大公司,包括许多世界500强企业,涉及数字藏品的,基本都是消费环节,没有交易环节。很多数字藏品还是以赠品的形式做的,甚至都没有收费。”戴斌表示,对于数字藏品的交易环节,需要更加慎重对待。

今年4月,中国互联网金融协会、中国银行业协会、中国证券业协会联合发布《关于防范NFT相关金融风险倡议》。倡导NFT行业参与者不为NFT交易提供集中交易、持续挂牌交易、标准化合约交易等服务,变相违规设立交易场所。

但从实际情况来看,许多数字藏品平台以用户“寄售”的名义,提供了二级交易服务。

相关统计显示,数字藏品平台中,至少有三分之一开放了交易功能,一些不知名的中小平台,更是普遍支持二级市场交易。部分平台甚至直接取名为“×交所”,打着数字藏品交易所的旗号开展业务。

相比之下,由大型企业、机构投资设立的数字藏品平台,对于二级市场交易明显更为谨慎。

以腾讯旗下数字藏品平台幻核为例,该平台上目前尚不支持直接转让交易。蚂蚁集团旗下数字藏品平台鲸探页面也提示,任何数字藏品均不得转售、炒作和场外交易或以任何其他非法方式进行使用。仅限于自身收藏、学习、研究、欣赏、展示等。

(鲸探提示不支持转售、炒作交易)

蚂蚁集团旗下蚂蚁链此前在接受媒体采访时也表示,坚决抵制一切形式的数字藏品价格恶意炒作,反对数字藏品金融产品化。腾讯幻核平台也表示,一直致力于在合规框架下落地数字收藏品业务,坚决抵制虚拟货币相关活动的违法违规行为。

“国内还没有真正意义上完全合规的数字藏品二级市场,主流数字藏品平台现阶段出于监管需要,不能也不会开放数字藏品的转赠交易功能。目前市场上存在的二级市场,大多是用户自发形成或者某些中小平台非法组织的交易场所。“蒋照生表示。

“现阶段,我们确实看到市场上已经出现了一些有国资背景或者取得部分合规资质的第三方数字藏品平台,但要想开展数字藏品的二级市场活动,难度还相对比较高。“蒋照生表示,根据《国务院关于清理整顿各类交易场所切实防范金融风险的决定》和《国务院办公厅关于清理整顿各类交易场所的实施意见》等相关规定,如果想要在正式的交易场所开展数字藏品交易,必须经省级人民政府批准设立,或者需要取得国务院或者国务院金融管理部门的批准。

“但随着数字藏品行业的持续发展,还是应该在审慎监管下逐步放开二级市场交易,根据实际情况建立区域性或者全国性数字藏品交易平台,同时加大对数字藏品非法二级交易市场的打击惩戒力度。”蒋照生说。

责任编辑: 彭勃
e公司声明:文章提及个股及内容仅供参考,不构成投资建议。投资者据此操作,风险自担。
更多相关文章
热门解读 更多
视频推荐 更多
热门股票 更多
股票名称 最新价
涨跌幅