上市第三天,这只次新股再登龙虎榜!机构4000万元扫货,北交所又添新纪录!
来源:证券时报·e公司 作者:钟恬 2022-08-10 23:44
Aa 大号字

在上市第3天,海泰新能再次登上龙虎榜,买一席位的机构疯狂抢筹超过4000万元,创下机构单日扫货北交所股票的纪录!其成交额更是达到5.37亿元,已可媲美深沪主板股票。

除海泰新能外,还有6只北交所次新股今天表现也相当亮丽,其中骏创科技强势涨停。业内专家认为,近期一批北交所次新股出现明显异动,是北交所热度回升的一个很好信号。

创下机构单日扫货纪录

8月8日在北交所闪亮登场的海泰新能,今天表现依然出彩。

海泰新能上市首日即大涨27%,次日则强势涨停。今天低开高走,盘中多次冲高,涨幅一度超过26%,盘中最高触及18.88元,上市短短3个交易日已相较发行价9.05元翻番。尾盘该股涨幅逐步收窄,收盘涨10.15%至16.50元,较发行价上涨82.32%,为今年北交所上市新股的最高。

海泰新能今天盘中振幅达到31.11%,换手率为26.84%,成交额达到5.37亿元,均为今天北交所首位。事实上,该股5.37亿元的量能也已可媲美深沪主板股票,海泰新能上市3个交易日,成交额均超过3亿元,前两个交易日分别为4.31亿元、3.40亿元。

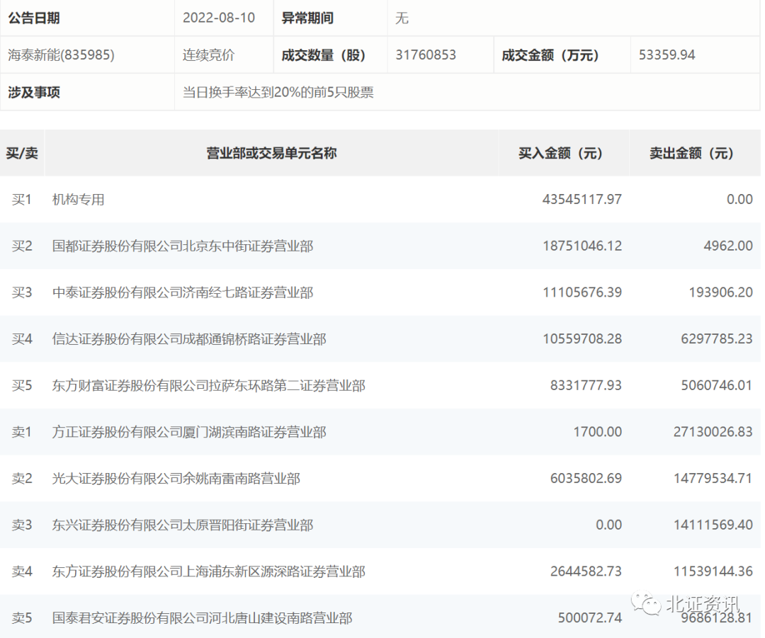
值得一提的是,海泰新能今天遭到机构疯狂扫货。北交所盘后公开信息显示,海泰新能有买一为机构专用席位,共净买入4354.51万元,创下机构单日扫货北交所股票的纪录!此外,还有三家营业部的买入额也超过1000万元,包括国都证券股份有限公司北京东中街证券营业部买入1875.1万元,中泰证券股份有限公司济南经七路证券营业部、信达证券股份有限公司成都通锦桥路证券营业部分别吸纳了1110.57万元、1055.97万元。卖出方面,卖一为方正证券股份有限公司厦门湖滨南路证券营业部,卖出2713万元;卖二为光大证券股份有限公司余姚南雷南路营业部,卖出1477.95万元。

海泰新能是以晶硅太阳能光伏组件为核心,同步加码光伏电站运营的高新技术企业。主营业务以晶硅太阳能光伏组件的研发、生产、加工和销售为核心,并开展太阳能光伏电站的开发、建设、运营等业务,同时覆盖光伏组件、光伏电站、光伏支架、储能和氢能五大事业板块,居于光伏产业链中游。

今天北交所股票整体上表现活跃,包括海泰新能在内,总共有7只股票涨幅超过6%,均为清一色的次新股,上市时间均在6月份以后。其中,骏创科技封住30Cm涨停;科润智控也放量大涨14.65%,派特尔、邦德股份、奥迪威和恒进感应的涨幅则在6%至10%之间。

骏创科技和派特尔也均登上今天龙虎榜,不过成交额相较海泰新能明显逊色。其最近3日龙虎榜交易数据显示,买一为华福证券有限责任公司三明列东街证券营业部,共买入412.23万元、卖出84.79万元;买二为国金证券股份有限公司上海浦东新区梅花路证券营业部,买入278.67万元。派特尔的上榜营业部中,买一为申万宏源证券有限公司温州车站大道证券营业部,买入金额为150.99万元,财达证券股份有限公司也吸筹119.26万元。

赚钱效应凸显

近期一批北交所次新股出现明显异动,改变了今年以来新股长期处于破发状态的局面,7月中旬以来上市的4只次新股,更是上涨明显,成为其中佼佼者。

Wind的统计显示,6月以来上市的14只次新股中,目前仅4只破发,破发率不足三成。海泰新能目前股价较发行价上涨82.32%,已成为北交所第5大市值公司。其次是惠丰钻石,目前股价较发行价上涨75.69%。科润智控、奥迪威和派特尔目前股价较发行价分别涨45.58%、26.64%和18.93%。

资深新三板评论人、北京南山投资创始人周运南认为,北交所连续两日出现涨停个股,实属难得,赚钱效应又凸显了。对于近期飙涨的两只龙头股海泰新能和惠丰钻石的表现,周运南认为两者的共同点在于:一是同为专精专新小巨人;二是业绩净利同比持续增长;三是最关键的一点,上市时正好碰上A股正在炒作所属概念板块,惠丰钻石是当时正热炒人造钻石概念,而海泰新股正好现在正热炒光伏概念。

至于骏创科技今天涨停的原因,周运南表示,可能是四种利好共振的结果:一是其上巿次日有机构现身龙虎榜买一,所以近期受惠丰钻石有机构打榜的刺激而反弹;二是近期发布了半年报净利大增的业绩预告,又刺激了这几天的上涨;三是受益于新能源汽车概念;四是受益于惠丰钻石和海泰新股打开的市场想像空间。

这一批次新股表现如此出色,加上有大资金入场推动,是不是意味北交所即将走好回暖呢?

对此,新三板市场资深人士、广东力量股权投资基金管理有限公司总经理朱为绎认为这个信号非常明显,“你看,海泰新能今天成交量超过整个市场的一半,一只新股成交五个多亿元,这个很厉害了,沪深A股的成交量其实也就这个样子,而且机构一下子买这么多,如果这个机构是公募基金的话,按照主题基金五个亿的盘子,那基本上是顶格买了,所以这个信号是非常明显的。”

在朱为绎看来,在次新股的信号带动作用下,北交所接下去可能还会延续这种态势。

而增量研究院院长张奥平则认为,今天海泰新能有大资金入场,其实还是个例,不能够确定北交所将开始热起来。其认为,海泰新能属于光伏产业是国家重点支持的一个战略方向,所以这个行业前景是足够广阔的;海带新能是行业内部的一家头部创新型企业,头部企业登陆资本市场之后是能够享受到资本市场一定的溢价的。而且海泰新能登陆资本市场之后的市盈率也并不高,所以它整体资金面的关注也会高一些。

“我们始终认为,北交所整个资金端活跃的一个先决条件,一定是北交所在资产端有优质的资产,优质资产充足是一个先决条件,而当下,我们看到北交所目前整体资产端还存在问题,首先是数量并不充足,第二点是质量,虽然我们看到创新性这个属性已经很强了,但是企业的成长性还需要一定的时间来进行一个客观的判断。所以目前来看,北交所整体的活跃度还一定能够起来,今天海泰新能有大资金入场是很好的一个信号,其实说明了只要企业足够优秀,只要企业的创新属性足够强,只要企业的成长性足够强,无论是在哪个资本市场的哪一个板块,它一定是能够吸引到资金的,一定是能够实现融资发展的,所以归根到底还是要看企业资产的情况。”张奥平说。

责任编辑: 李小平
e公司声明:文章提及个股及内容仅供参考,不构成投资建议。投资者据此操作,风险自担。
更多相关文章
热门解读 更多
视频推荐 更多
热门股票 更多
股票名称 最新价
涨跌幅